BETEX
Hotline: 098 712 3398 Email: pkd@mike.vn 🇻🇳 🇬🇧
BETEX
Bộ shim inox

Bộ shim inox ABCD cân chỉnh đồng trục chèn chân đế thiết bị quay.

★ 0.0 (0 đánh giá) • Đã bán 5
Lượt xem: 0
Nhập khẩu từ: Hà Lan
Bộ shim chèn Inox Betex. Các tấm shim được cắt theo các kích thước tiêu chuẩn với độ dày đa dạng từ: 0.025 - 3.0mm. Bộ shim ABCD sẽ tương ứng phù hợp cho các size bu lông từ M12 - M42. nhà sản xuất Betex Netherland
SKU: ABCD
Trạng thái kho: Đặt hàng chờ nhập 4-8 tuần
Vui lòng liên hệ để được báo giá và tình trạng hàng.
Mô tả

Bộ shim inox ABCD cân chỉnh đồng trục chèn chân đế thiết bị quay. Tập hợp gồm 4 size A-B-C-D miếng chêm với các chân bulong có kích thước M12, M20, M30, M42.  hoặc các bệ máy, hoặc các mặt tiếp xúc không đồng phẳng, giữa các liên kết chuyển động cần độ đồng tâm, đồng trục cao. Nhà sản xuất Betex đến từ Hà Lan đã mang đến cho người sử dụng những tấm shim được cắt theo kích thước tiên chuẩn, cũng như dộ dày thông dụng nhất để phù hợp với người sử dụng.

Đối với các tấm shim trong bộ shim ABCD. Được nhà sản xuất cắt theo tiêu chuẩn và sử dụng cho size bulong M12, M20, M30, M42. Các góc cạnh của sgim được bo tròng để có thể đễ dàng chèn vào các khe hở một cách dễ dàng, trên phần đầu của tấm shim dduocj tạo một lỗ khuyên để trong quá trình thao tác rút ra, hoặc trong trường hợp lưu kho sẽ được xâu lại và lưu kho thuận tiện.

Việc xâu lại khi lưu kho đó là trường hợp các bạn mua lẻ từng size và từng độ dày, mỗi size sẽ được chưa trong hộp catton với số lượng 10 miếng. Tuy nhiên trong trường hợp các bạn mua nguyên bộ như các mã mình đang nói trong bài này thì sẽ được chứa trong một vali nhựa cao cấp, với các khay bằng mút được khắc dộ dày để dễ dàng quản lý. Như vậy khi sử dụng hết các bạn chỉ cần mua shim lẻ theo dộ dày và về lấp đầy vào khay đã trống là xong.

Hình ảnh bên dưới sẽ giúp các bạn dễ dàng hình dung ra những gì mình vừa trình bày ở trên.

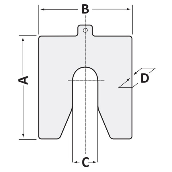
thông số kích thước tổng thể shim Betex Bộ shim inox ABCD cân chỉnh đồng trục chèn chân đế thiết bị quay.

Bảng chú thích các thông số kích thước trong hình:

Type Thông số
A (mm) B (mm) C (mm)
Shim A 50 50 13
Shim B 75 75 21
Shim C 100 100 32
Shim D 125 125 45

Thông qua bảng trên có thể thấy rằng bọ shim ABCD sẽ có 4 loại shim tương ứng cho các size bu lông như: Shim A - M12, Shim B - M20, Shim C - M30, Shim D - M42. Tương ứng với mỗi size bu lông trên thì cho từng Type sẽ có các độ dày tiêu chuẩn của tấm shim. Các bạn có thể hiểu rõ được điều này thông qua bảng thông số bên dưới.
Bảng mã và số lượng shim trong bộ ABCD

Độ dày shim
(mm)
Kiểu Shim
B020019 - 10/9 B020030 - ABCD 10/10 B020040 - ABCD 10/11 B020060 - ABCD 10/12
0.025 - - 10 10
0.5 10 10 10 10
0.10 10 10 10 10
0.15 - - - 10
0.20 10 10 10 10
0.25 10 10 10 10
0.40 10 10 10 10
0.50 10 10 10 10
0.70 10 10 10 10
1.00 10 10 10 10
2.00 10 10 10 10
3.00 - 10 10 10
Tông số shim 360 400 440 480

Khi nhìn vào bảng thông số trên ta thấy có những dấu  "-". Dấu này có nghĩa là trong model đó không các tấm shim có độ dày tương ứng. Sự sắp xếp này sẽ giúp cho người sử dụng có những lựa chọn phù hợp theo nhu cầu, để không lãng phí khoản đầu tư vào độ dày nếu không sử dụng.

Đối với vali và các khay mút bên trong sẽ là giống nhau hoàn toàn về thiết kế, chỉ khác nhau về số lượng shim bên trong. Vậy nên trong trường hợp các bạn mua bộ ABCD-10/9 hay ABCD-10/10 mà thấy trống một khay có độ dày 0.025mm thì các bạn đừng ngạc nhiên hay thắc mắc nhé. Vì trong 2 model này đã không bao gồm độ dày 0.025mm. Trong trường hợp các bạn thấy nó trống thấy không vừa nắt nhìn và nhu cầu sử dụng phát sinh tấm shim với độ dày 0,025 sau khi mua 2 model trên các bạn có thể đặt mua shim lẻ để lấp đầy khoảng bị trống và sử dụng.
Điểm đặc biệt của bộ shim ABCD
Ngoài ra có điểm đặc biệt cho bộ Shim ABCD này. Đó là với 4 size bulong, và số lượng shim lên đến 480 chi tiết nên khối lương cho một bộ shim khá nặng, nên vali chưa ngoài thiết kế quay xách thì được trang bị thêm 2 bánh xe di động và tay kéo. phần quay xách được tiết kế cả cạnh dọc và cạnh ngang của vali để có nhiều lựa chọn phương thức di chuyển cho người sử dụng.

Để thuận tiện cho công việc nên trong quá trình nhu cầu sử dụng shim được phát sinh thì người sử dụng cần di chuyển toàn bộ vali shim từ kho bảo quản cho đến vị trí máy cần sửa chữa.

Nếu khoảng cách vái bước chân hoặc vài mét thì việc di chuyển không là vấn đề gì, tuy nhiên trong các nhà máy lớn thì khoảng cách có thể lên đến vài trăm mét thì sẽ là vấn đề cho người di chuyển vali shim này.

Chính vì vậy nhà sản xuất đã trang bị cho bộ shim này với bánh xe và tay kéo, để thuận tiện cho việc di chuyển trên những cung đường dài hoặc thậm trí những khi đã phải dồn hết sức cho việc sửa chữa rồi thì sức đâu mà xách vali shim về kho khi kêt thúc công việc nữa đây.

Đây là điểm đặc biệt của bộ shim ABCD nên các các bạn có thể sử dụng nó. Tuy nhiên nếu các bạn cảm thấy " Ôi ba cái này nhằm nhò gì với tôi, 2 tay ôi xách 2 vali là chuyện muỗi" thì không sao cả đó là khả năng của các bạn mà, nhiều khi chính vì câu nói này mà tôi lại bán được 2 vali shim ấy chứ.


Thuyết minh kỹ thuật

Vật liệu: inox 304
Mỗi thành phần có 10 miếng
Valy nhựa cao cấp,có bánh xe để di chuyển thuận tiện.
Kích thước Shim (mm): 50x50, 75x75, 100x100, 125x125

Đánh giá sản phẩm

Dựa trên 0 đánh giá
0.0
Tổng quan
5★ 0
4★ 0
3★ 0
2★ 0
1★ 0

Hãy là người đầu tiên đánh giá “Bộ shim inox ABCD cân chỉnh đồng trục chèn chân đế thiết bị quay.”

Vui lòng đăng nhập để gửi đánh giá.
Sản phẩm vừa xem
Chưa có
096 779 3398 | 098 712 3398 | 096 478 3398 | 096 717 0718
BETEX - Bega Special Tools - Schaeffler Smart Maintenance Tools - Phân phối bởi Minh Khang Vinatools
👉 Tầng 1, Shop Thương mại số S2.0301S08, Đường Cầu Vồng 3, KDT Vinhomes Grand Park, 512 Nguyễn Xiển, Phường Long Bình, Thành phố Hồ Chí Minh, Việt Nam
👉 Vinhomes Grand Park, 512 Nguyễn Xiển, Phường Long Bình, Thành phố Hồ Chí Minh, Việt Nam