BETEX
Hotline: 096 779 3398 Email: sales@mike.vn 🇻🇳 🇬🇧
BETEX
Cảo đĩa

Vai cảo đĩa trượt ngang MP65, thanh chống Counter Support.

★ 0.0 (0 đánh giá) • Đã bán 1
Lượt xem: 0
Nhập khẩu từ: Hà Lan
Thanh chống kèm với vai cảo trượt ngang, một cơ phận quan trọng tạo thành bộ vam đĩa. MP65 là tên gọi chung của cả dòng họ Counter Support. Bạn cần chọn theo độ mở tương thích với đĩa 2 mảnh MP60. BETEX - Made in EU.
SKU: MP65
3.097.000 đ - 90.431.000 đ
Trạng thái kho: Hết hàng
Giá đã bao gồm VAT
Mô tả

Đây là dòng cảo đĩa cơ khí để áp dụng tháo các vòng bi khi khoảng hở giữa 2 chi tiết bị giới hạn. MP60/65 bảo vệ vòng bi trong trường hợp cần sử dụng lại. Trọn bộ với ĐĨA +  VAI cảo. Chỉ bộ ĐĨA, hoặc chỉ VAI cảo. Tùy theo nhu cầu sử dụng khác nhau bạn cần chọn từng thành phần cụ thể theo bảng dưới đây.

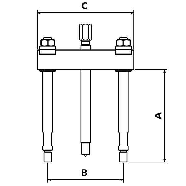
hình chiếu đứng thanh counter support MP65 BETEX MP65 Cảo đĩa 2 chấu độ mở ngàm 60-330mm Betex hình chiếu bằng thanh counter support MP65 BETEX

A = chiều dài dịch chuyển của trục cảo. C = độ rộng cầu vai. B = Độ mở min - max. E = khe hở rãnh trên vai của cảo.

Model Trục dài
mm
Độ mở min
mm
Độ mở max
mm
Vai rộng
mm
Rãnh vai
mm
Trọng
lượng
MP65110 115 46 110 122 10,1 1
MP65140 115 46 140 156 10,1 1
MP65195 175 62 195 210 14,1 3
MP65445 245 173 445 475 20,5 12
MP65450 480 178 450 480 27 35
MP65580 680 219 580 617 32,5 53

Như vậy điều mình đang muốn nói tới ở đây là để sử dụng được thì sẽ phải mua cả bộ gồm Đĩa + Vai cảo các bộ này sẽ đi với nhau theo thiết kế tiêu chuẩn của nhà sản xuất, trường hợp có muốn lắp lẫn để thảo mãn nhu cầu sáng tạo thì sẽ không thể.


Thuyết minh kỹ thuật

Chế tạo bằng công nghệ luyện kim Châu Âu.
Hình ảnh mang tính chất minh họa.
Thay đổi độ mở bằng cách thay đổi vị trí vai trượt

Tags / Từ khóa: vai cảo đĩa
Bảng giá & Đặt hàng
Mã SKU Giá (VND) Mua Kho Độ mở max Độ mở min Độ mở ngàm Độ với max
MP65110 3.097.000 đ 110mm 46mm 60mm 115mm
MP65140 3.502.000 đ 140mm 46mm 80mm 115mm
MP65195 7.171.000 đ 195mm 62mm 110-150mm 175mm
MP65445 20.845.000 đ 445mm 173mm 180mm 175mm
MP65450 52.860.000 đ 450mm 178mm 260mm 480mm
MP65580 90.431.000 đ 580mm 219mm 300-330mm 680mm

Đánh giá sản phẩm

Dựa trên 0 đánh giá
0.0
Tổng quan
5★ 0
4★ 0
3★ 0
2★ 0
1★ 0

Hãy là người đầu tiên đánh giá “Vai cảo đĩa trượt ngang MP65, thanh chống Counter Support.”

Vui lòng đăng nhập để gửi đánh giá.
Sản phẩm vừa xem
Chưa có
096 779 3398 | 098 712 3398 | 096 478 3398 | 096 717 0718
BETEX - Bega Special Tools - Schaeffler Smart Maintenance Tools - Phân phối bởi Minh Khang Vinatools
👉 Tầng 1, Shop Thương mại số S2.0301S08, Đường Cầu Vồng 3, KDT Vinhomes Grand Park, 512 Nguyễn Xiển, Phường Long Bình, Thành phố Hồ Chí Minh, Việt Nam
👉 Showroom: S203 - Vinhome Grand Park - Q9 - Thủ Đức - Tp. Hồ Chí Minh - Vietnam